Na patente submetida pelo fabricante de automóveis desportivos, volante e pedais retrateis, para melhorar o espaço no habitáculo.
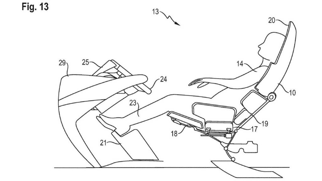
A Porsche acaba de registar uma nova patente que permite especular sobre a possibilidade mais do que provável de o emblema de Estugarda ter já trabalhos concretos na área da condução autónoma. Pouco mais de um mês sobre a apresentação do seu primeiro elétrico, a Porsche surpreende agora com a revelação de um novo conceito de assento dianteiro reclinável, que inclui uma configuração que marca descreve como ‘relaxante’.
E se a patente não faz qualquer referência a sistema de condução autónoma, as ilustrações agora reveladas alimentam a discussão, já que permitem identificar que em determinadas posições o condutor não teria acesso direto aos principais comandos do veículo.
As imagens confirmam que o proprietário do veículo com este equipamento pode optar pela tradicional posição de condução ou reclinar quase na totalidade o encosto do banco, posição de descanso, que implica também o recuo automático de volante e pedais.

