A marca de Elon Musk apresentou uma nova proposta de patente que descreve uma tecnologia inovadora para limpeza de superfícies vidradas nos seus modelos. O fabricante de automóveis elétricos pretende substituir as convencionais escovas por muito mais eficaz sistema de lasers na remoção de detritos acumulados durante uma viagem.
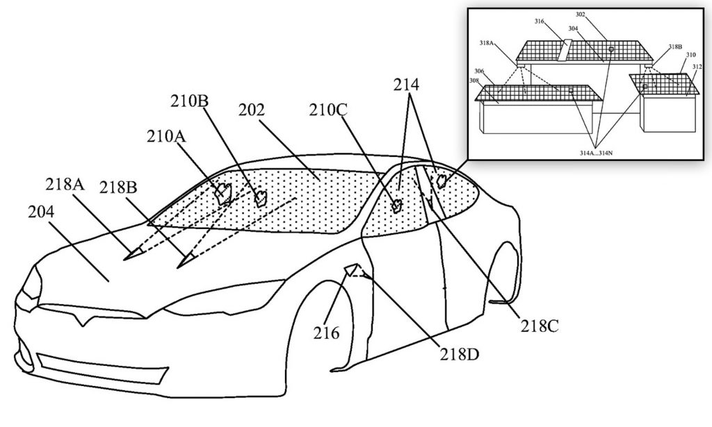
O documento com o esquema do engenhoso dispositivo terá escapado ao controlo dos responsáveis da marca de Elon Musk, acabando publicado na Internet. Nele pode confirmar-se a assinatura de Phiroze Dalal, especialista em imagens industriais da Tesla, além de uma suscita descrição do que será um sistema de limpeza composto por um feixe ótico que através de laser procede à remoção da sujidade numa determinada. Tudo comandado por um circuito de controlo que programa uma série de parâmetros para que o sistema funcione com base nas informações enviadas por sensores que estão espalhados por várias partes do automóvel, incluindo os vidros laterais. Com isso, o laser realiza a remoção automática dos detritos que poderiam atrapalhar a visibilidade, sem necessidade de acionar as escovas. Este é um tipo de tecnologia que pode ser bastante útil em veículos equipados com tecnologia de condução autónoma, garantindo a limpeza das lentes de câmara e sensores associados ao sistema.
Sobre mais esta inovação que parece estar a merecer a atenção dos técnicos da marca norte-americana pouco mais se sabe. A Tesla não apresentou para já qualquer explicação ou comentário sobre as imagens registadas na patente.

